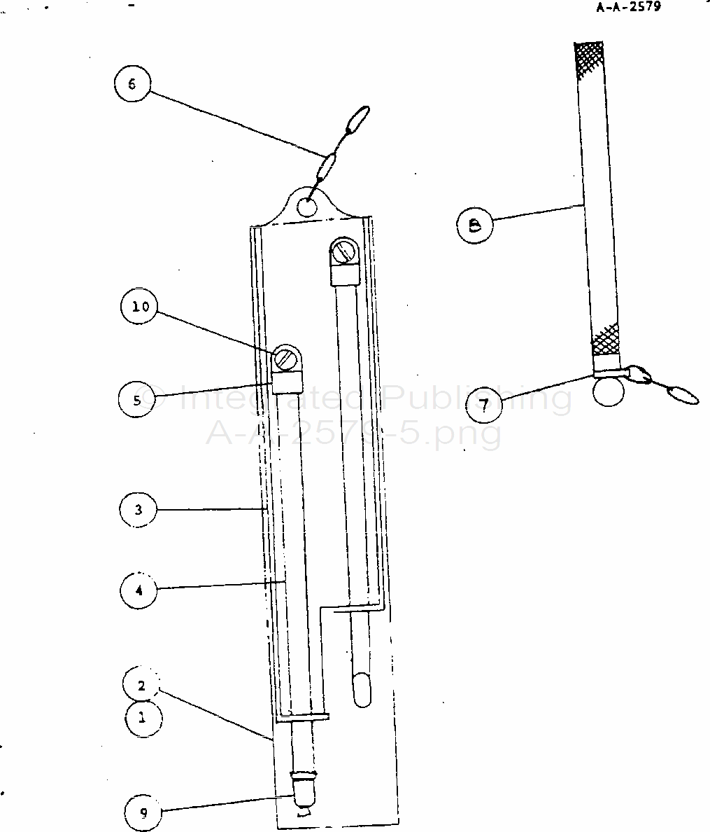
A-A-2579 Psychrometer, Sling, Pocket TypeThis description covers a psychrometer to be used for determining relative humidity of atmospheric air by means of wet- and dry- bulb temperature readings.